WX-A20D電纜故障定點儀
產品分類: 電纜故障檢修設備
WX-A20D智能電纜故障精確定點儀,配合高壓信號發生器使用,是一款便攜式、智能化的電力電纜故障定點儀。小巧便攜,重量輕。
訂購熱線:151-0279-6561(微信同號)
立即咨詢一、概述
WX-A20D智能電纜故障精確定點儀,配合高壓信號發生器使用,是一款便攜式、智能化的電力電纜故障定點儀。
二、功能特點
1、背景降噪技術,有效濾除環境干擾噪聲,凸顯故障位置放電聲音。
2、智能定點方式,通過智能算法直接給出聲磁延時值,降低對測試人員的要求。
3、自動啞音功能,移動傳感器時自動靜音,避免移動產生的噪音。
4、電子羅盤功能,顯示電纜鋪設方向同傳感器的左右位置和角度。
5、聲音濾波參數可調,選擇合適的濾波器參數,抑制環境噪音。
6、自動增益功能,磁場觸發增益自動調節,更加方便定點。
7、高性能抗噪監聽耳機。
8、800×480高亮彩色液晶,亮度達到800cd/m2,確保陽光下可視。
9、內置大容量鋰離子電池,USB接口充電。
10、小巧便攜,重量輕。
三、技術指標
1、聲磁同步定點功能:
(1)聲音通道
a)帶寬
全通:80Hz~1500Hz。
低通:80Hz~400Hz。
高通:200Hz~1500Hz。
帶通:150Hz~600Hz。
b)信號最大增益:≥80dB。
c)定點精度:0.1m。
d)聲磁延時范圍:0~80ms
e)聲磁延時分辨率:0.1ms
(2)磁場通道
a)信號最大增益:>80dB
2、聲磁同步背景降噪模式:強降噪,自適應降噪,無降噪三種模式。
3、電源:
a)電池:內置鋰離子電池組,標稱電壓3.7V,容量>6000mAh。
b)使用時間,可連續使用時間>9小時;
c)充電器:輸入AC100-240V,50/60Hz;輸出5V/2A
d)充電時間:<5小時
4、顯示方式:800×480高亮彩色液晶,陽光下可視
5、體積:主機230mm×127mm×55mm。
6、質量:主機1kg;傳感器1.4kg
使用條件:溫度:-10℃-50℃,濕度5-90%RH,海拔<4500m。
四、儀器組成和簡介
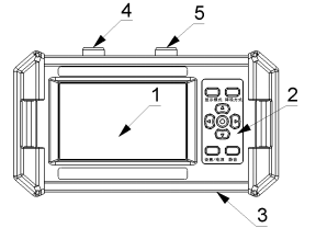
本儀器包括1個主機、1個聲磁同步傳感器、1個高抗噪耳機、1條信號線以及充電器等。主機如圖2-1-1所示:

如圖2-1-1
序號 | 名稱 | 說明 |
1 | 液晶 | |
2 | 鍵盤區 | 【設置/電源】:長按開機;短按進入設置。 【靜音】:控制耳機聲音輸出。 【顯示模式】:調節顯示模式 【降噪方式】:調節降噪方式 【五向鍵】: 【上鍵】和【下鍵】調節聲音增益。 【左右鍵】波形方式調整光標或調整磁場觸發值,用【中鍵】切換。 【中間】自動磁場關閉時,切換左右鍵調節功能,調整光標或磁場觸發值。 |
3 | USB充電接口和充電指示 | 紅色:正在充電。 綠色:充電完成。 |
4 | 耳機接口 | 接耳機 |
5 | 信號接口 | 使用信號線和傳感器連接。 |

圖2-1-2傳感器
序號 | 名稱 | 說明 |
1 | 提桿 | 安裝方法:插入安裝孔,旋轉提桿1/4圈。 |
2 | 信號接口 | 使用信號線和主機連接 |
3 | 透氣閥 | 平衡內外氣壓 |
4 | 長探針 | 適合草地或松軟的地面,使用時將其拆下并安裝在底部螺孔內。 |
















